
■ 투고 논문 관리(Manuscripts Management)

❶ 투고 논문 관리(Manuscripts Management) 메뉴에는 투고된 논문, 심사 중 논문, 게재 수락 논문, 최종본 제출 완료, 출판 논문, 게재 거절/철회 논문의 탭이 있어 논문을 투고하는 단계별 상황을 확인하고 다음 단계로 진행할 수 있습니다.
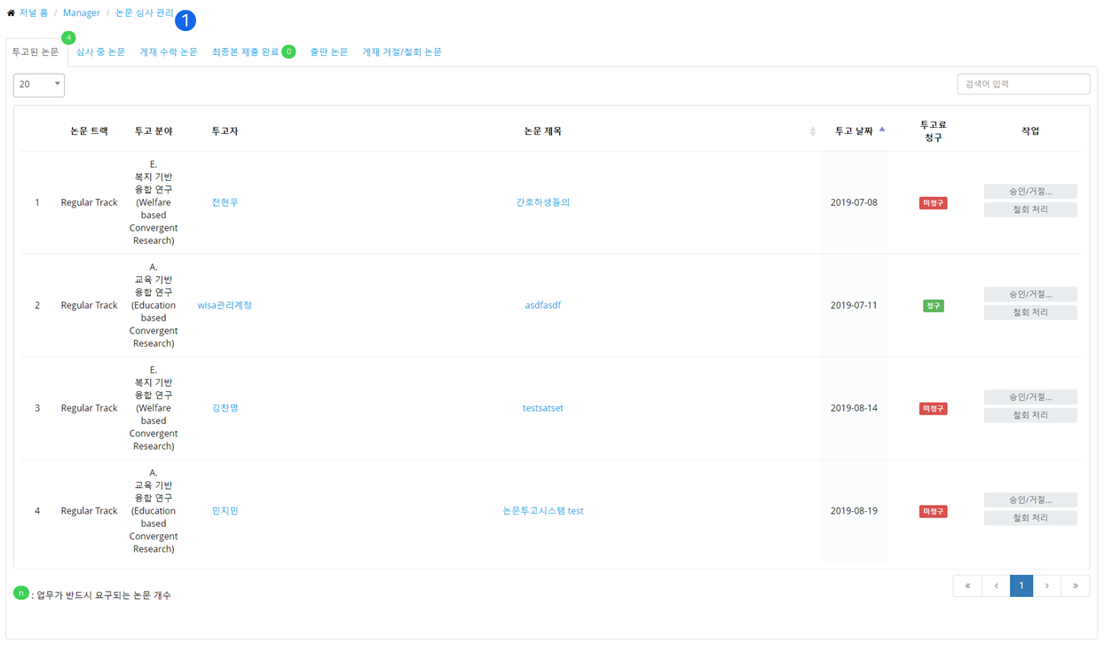
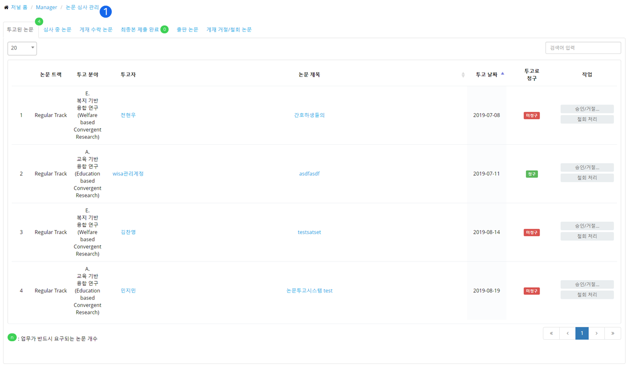
■ 투고 논문 관리(Manuscripts Management) - 투고된 논문(Submitted)

❶ 투고 논문 관리 메뉴의 투고된 논문(Submitted) 탭에서는 신규로 투고된 논문을 볼 수 있습니다. 투고된 논문 탭에서 관리자는 논문 제목을 클릭하여 아래의 논문 정보 화면이 나타나면 담당 편집장을 선택하고, 유사도를 입력하여 제출을 승인하거나 거절할 수 있습니다.

■ 투고 논문 관리(Manuscripts Management) - 수정 요청 논문(Revision Requested)

❶ 수정 요청 논문 탭(Revision Requested)은 심사 결과가 재투고인 논문이 저자에게 수정 요청되었을 때 이를 확인할 수 있는 탭입니다.
■ 투고 논문 관리(Manuscripts Management) - 수정 투고 논문(Revision Submitted)

❶ 수정 투고 논문(Revision Submitted) 탭에서는 저자가 수정을 하여 재투고 했을 경우 관리자가 이를 확인하여 승인하거나 거절할 수 있습니다.
■ 투고 논문 관리(Manuscripts Management) - 심사 중 논문(Under Review)

❶ 심사 중 논문(Under Review) 탭에서는 편집장 혹은 부편집장에 의해 심사가 할당된 심사위원들이 심사를 진행하는 것을 확인할 수 있습니다. 또한 논문 제목을 클릭하여 논문의 정보와 심사 상황을 조회할 수 있습니다.

■ 투고 논문 관리(Manuscripts Management) - 게재 수락 논문(Accepted)
❶ 게제 수락 논문(Accepted) 탭에서는 심사 최종 결과가 게재 수락일 경우 나타나는 논문을 확인할 수 있습니다. 이 때 관리자와 저자 사이에서 최종본을 바로 제출하겠다는 사전에 상의가 있었다면 관리자가 최종본 제출 완료 처리를 진행 할 수 있습니다. (게재 거절 처리 혹은 철회 처리는 저널에 따라 관리자가 설정하여 조정할 수 있습니다.)
■ 투고 논문 관리(Manuscripts Management) - 최종본 제출 완료(Camera-ready paper submitted)

❶ 최종본 제출 완료(Camera-ready paper submitted) 탭에서는 저자가 제출한 논문의 최종본을 관리할 수 있는 탭입니다.
❷ 관리자는 최종본 관리 버튼을 클릭하여 아래의 화면에서 보이는 것과 같이 최종본을 저자에게 다시 회송하거나 최종본을 확인하고 출판 상태로 바꿀 수 있습니다.

■ 투고 논문 관리(Manuscripts Management) - 출판 논문(Published)

❶ 출판 논문(Published) 탭에서는 최종본 제출까지 완료되어 출판 상태로 변경된 논문을 확인할 수 있습니다.
❷ '논문 정보 SNS포스팅' 버튼을 클릭하여 출판되는 논문 정보를 아래의 화면과 같이 작성하여 Manuscript의 페이스북과 트위터 계정에 공유하여 홍보할 수 있습니다.

■ 투고 논문 관리(Manuscripts Management) - 게재 거절/철회 논문(In Other Status)

❶ 게재가 거절되거나 철회된 상태의 논문이 나타는 탭입니다.
| 논문투고 시스템 [관리자] - 서비스 이용 요금 관리(Billing Management) (0) | 2019.08.14 |
|---|---|
| 논문투고 시스템 [관리자] - 증명서 발급(Issue certificate) (0) | 2019.08.14 |
| 논문투고 시스템 [관리자] - 논문 정보 엑셀 출력(Manuscript Information Export) (0) | 2019.08.14 |
| 논문투고 시스템 [관리자] - 전체 논문 정보 보기(Manuscript Information Overview) (0) | 2019.08.14 |
| 논문투고 시스템 [관리자] - 기타 결제 관리(Additional Fee Payment Management) (0) | 2019.08.14 |
댓글 영역